8 (841) 245-43-80
business@electro58.ru
Товары
Спецификации
Заказы
Документы
КП
Корзина
г. Пенза
Войти
Каталог
Лампа металлогалогенная ДРИ 150 Вт E40 Philips MASTER CityWh CDO-TT Plus
Главное
Подробное описание
Связанные товары
Аналоги
Источники света
Газоразрядные
ДРИ (металлогалогенные)
Артикул:
ПЭ-00019189
Код производителя:
928082219231
Бренд:
Philips
цена
2 081,70 ₽/шт
наличие
Под заказ
шт
в корзину
добавить в…
Добавить в избранное
Поделиться
Подобрать аналог
Связанные товары
Сертификат EAC
Описание и характеристики
ДРИ - Металогалогенные лампы для замены натриевых ламп для освещения улиц
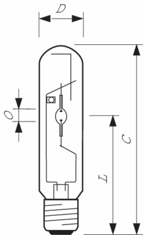
Цоколь
E40
Форма лампы/колбы
Трубчатая одноцокольная
Мощность лампы
148.5
В т
Показать все характеристики
Связанные товары
Аналоги